Show newer

Wczorajszy katowicki Marsz Równości jak zawsze najlepszy ❤️Cieszę się, że po raz kolejny mogłam być tam z Wami - radosnymi osobami, pełnymi akceptacji i wsparcia dla wszystkich wokół :)

Dzięki za zastrzyk motywacji i energii do działania!

Dziś na Pustyni Błędowskiej miałam okazję trochę pokrzyczeć do mikrofonu, zapowiadając starty rakiet na Festiwalu Meteora 🚀 (jak do tego doszło nie wiem, ale lubię i megafony i rakiety, więc chyba dobre połączenie ;))

I jak zawsze było super!

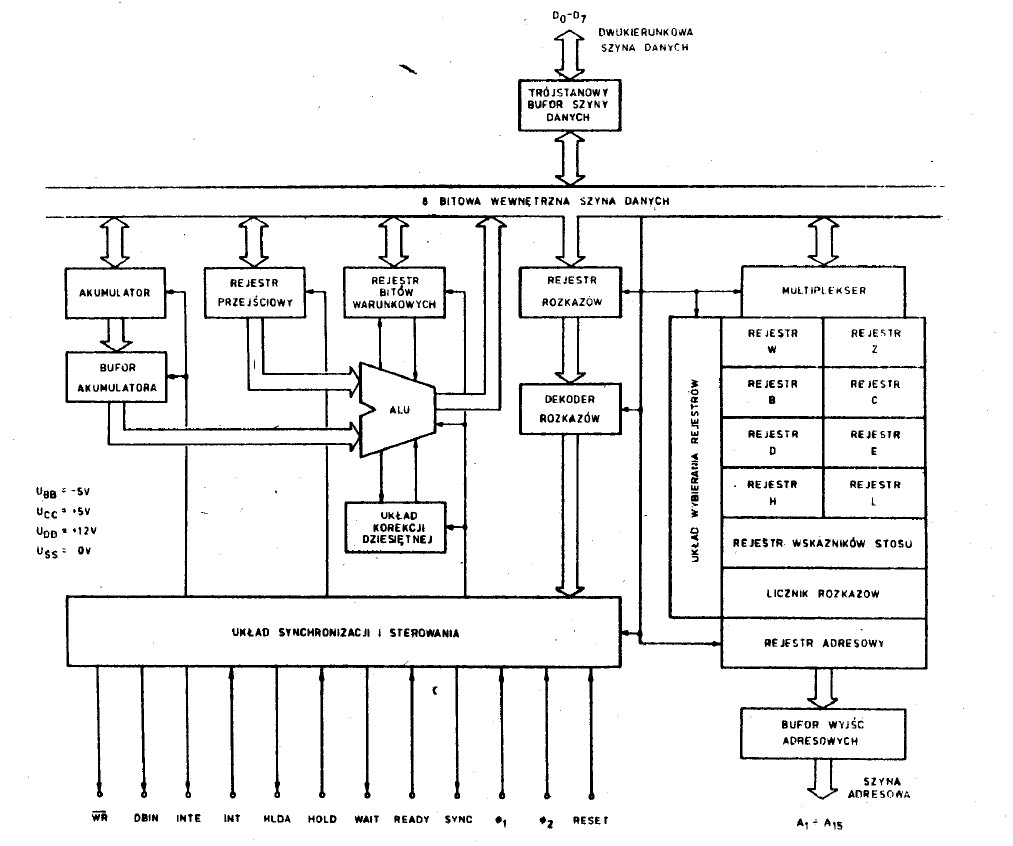
Ze źródeł internetowych wynika, że miało być kilka wersji układu (z różnymi prędkościami zegara i zakresami temperatur), ale produkcja na przemysłową skalę nawet tego “standardowego” sprawiała problemy, a tylko nieduży procent wyprodukowanych układów w ogóle działał.

Show thread

Ciekawostka na dziś: w latach 80-tych i 90-tych w Polsce produkowano mikroprocesory. A dokładniej jeden model mikroprocesora, czyli MCY7880.

Była to polska wersja popularnego w tamtych czasach 8-bitowego czipa Intel 8080.

Gdyby minister Czarnek umiał czytać między wierszami, to by wyciął z Chłopów Jagnę. A z Pana Tadeusza Telimenę.

Trwają prace budowlane na dworcu w Kielcach. Tak to wyglądało wczoraj, 8 września 2023 r.

Roman Giertych to brunatna szuja, wicepremier szmaciarskiego rządu Jarosława Kaczyńskiego. Wepchnięcie go na listy „demokratycznej opozycji” przez Donalda Tuska pokazuje, jak nisko upadły chadeckie brukselskie elity namaszczone jeszcze przez Angelę Merkel. Wara od mojego życia!✊🏼

Do grona patocelebrytów promujących w Polsce alkoholizm dołączył Robert Makłowicz. Wcześniej zrobili to już Janusz Palikot i Sławomir Mentzen.

Miła poranna wymiana zdań z dyrektorem Teatru Nowego Proxima w Krakowie.

He's a very good driver. Let's just hope we don't encounter any hares.

Z okazji dnia pieseła nowa historyjka o Libku i Lewaku:

Diabeł zamknął Lewaka i Libka w celach razem z psami i oznajmił, że wypuści tego, który nauczy psa bardziej imponującej sztuczki. Lewak nie zamierzał w to wchodzić i męczyć psa, po prostu bawił się z nim i bardzo szybko się zaprzyjaźnili.
Libek za to wmówił sobie, że to nie tylko szansa, żeby wydostać się z celi, ale jeśli teraz nie mając niczego innego na głowie nauczy się tresować psy, to potem będzie mógł założyć firemkę zajmującą się tą działalnością. CO ZA OPORTUNITY! Kazał więc biednemu psu skakać, próbował wymusić robienie salt, darł się na niego przeraźliwe, aż w końcu piesek nie wytrzymał i ujebał Libka w nogę, a ten z bólu i złości narżnął w spodnie.

Diabeł i Lewak zaczęli śmiać się do łez, co w końcu zmiękczyło serce tego pierwszego i postanowił wypuścić Lewaka oraz oba psy - nie mogąc przestać się śmiać.

Fortel z Gertychem na listach zaskoczył wszystkich, a wielu zniesmaczył - ale nie najwybitniejsze i przebiegłe umysły naszych czasów, nie Saudurę i Sieraka! Oni wszystko przejrzeli.

Sadura puścił oko do byłego premiera - i see what you did here - rzucił z szelmowskim uśmieszkiem, na co polityk poklepał go po plecach.

Sierak nie chciał być gorszy od Sadury, rzucił się na kolana i począł całować dłoń byłego prezydenta UE - Nasz dobrodzieju - mówił ze wzruszeniem - tylko ty, twoja charyzma i przenikliwy umysł są w stanie uratować nas przed społeczeństwem populistów.
- Gdyby nie ten Hołownia i Kosiniak- tu twarz Sieraka wykrzywiła się złością - ci współcześni targowiczanie, już dawno mielibyśmy 40%!

I jak przewidzieli, tak się stało. Gdy Kaczor przemawiał na wiecu w Świętokrzyskiem, w tłumie zobaczył wpatrzoną w niego zimnym wzrokiem twarz Gertycha. I to wystarczyło, żeby stracił rezon, zaczął się jąkać i w końcu przerwał wystąpienie. Gdyby coś takiego wydarzyło się raz, pewnie nie miałoby dalekosiężnych skutków, ale wydarzało się za każdym razem. Kaczor na wystąpieniach publicznych był coraz bardziej wystraszony, coraz bardziej bełkotał, a jego decyzje stawały się coraz bardziej erratyczne.

To przesądziło o jego porażce. Tak odzyskaliśmy Polskę - dzięki genialnemu planowi jednego człowieka.

Show older
Qoto Mastodon

QOTO: Question Others to Teach Ourselves
An inclusive, Academic Freedom, instance
All cultures welcome.
Hate speech and harassment strictly forbidden.